股票杠杆平台app 创兴资源6700万股将被司法拍卖 或致上市公司实控人变更

4月23日股票杠杆平台app,创兴资源(SH600193)公告称,公司近日收到杭州市上城区人民法院(以下简称“上城区法院”)的通知书,法院将于5月27日10时至5月28日10时在淘宝网司法拍卖网络平台上,对控股股东浙江华侨实业有限公司(以下简称“华侨实业”)所持公司6700万股(占其所持上市公司股份的65.90%,占上市公司总股本的15.75%)进行公开拍卖。
创兴资源称,华侨实业持有公司1.02亿股,占上市公司总股本的23.90%,该股份已全部被司法冻结。目前上述司法拍卖事项尚在公示阶段,后续可能涉及竞拍、缴款、法院执行法定程序、股权变更过户等环节,拍卖结果存在一定的不确定性。
6700万股将被司法拍卖
据悉,2023年6月27日,华侨实业将其持有的2000万股创兴资源股份(占总股本的4.70%)质押给北京银行股份有限公司杭州分行(以下简称“北京银行”),并于2024年2月5日再将其持有的900万股(占上市公司总股本的2.12%)质押给北京银行(补充质押)。
2023年11月20日,华侨实业将其持有的1100万股创兴资源股份(占上市公司总股本的2.59%)质押给杭州联合农村商业银行股份有限公司滨盛支行(以下简称“杭联银行”)。
2024年3月7日,华侨实业将其持有的2700万股(占公司总股本的6.35%)质押给中国农业银行股份有限公司杭州分行(以下简称“农业银行”)。
创兴资源公告称,于今年3月17日收到华侨实业的通知。华侨实业称,其所质押的股份因承担担保责任涉及诉讼已由上城区法院审理,并于3月14日作出(2024)浙0102民初26400号、(2025)浙0102民初542号、(2025)浙0102民初6175号三份民事判决书。
这三份民事判决书显示:股票杠杆平台app
北京银行有权在其最高债权额1亿元范围内以华侨实业持有的2900万股上市公司股票折价或拍卖、变卖该股票所得价款优先受偿;
农业银行有权在其最高债权额1.27亿元范围内以华侨实业持有的2700万股上市公司股票折价或拍卖、变卖该股票所得价款优先受偿;
杭联银行有权在其最高债权本金额2000万元范围内以华侨实业持有的1100万股上市公司股票折价或拍卖、变卖该股票所得价款优先受偿。
彼时,创兴资源称,华侨实业所质押股份对应的剩余债权本金金额分别为北京银行对应4750万元、农业银行对应1.93亿元、杭联银行对应150万元。

公开拍卖的具体情况 图片来源:公告截图
在4月23日披露的公告中,创兴资源称,因案件执行需要,上城区法院裁定对上述股份进行拍卖、变卖。
或导致控股股东、实控人发生变化
4月13日,在华侨实业为化解风险和解决自身及关联企业相关问题、辽宁璟铖企业管理合伙企业(有限合伙)(以下简称“辽宁璟铖”)基于对创兴资源未来发展前景看好的背景下,双方签订了《股份转让协议》。华侨实业拟向其协议转让3466.41万股创兴资源股份(以下简称“标的股票”),占公司总股本的8.15%,转让价格为3.283元/股,转让价款合计为1.14亿元。
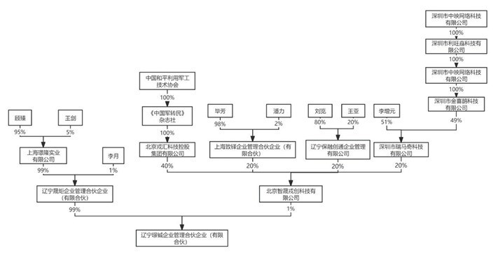
据披露,辽宁璟铖成立于2025年1月,注册资本为1.20亿元。

辽宁璟铖股权结构图 图片来源:公告截图
在4月23日公告中,创兴资源称,若本次司法拍卖和上述协议转让事项均完成股份变更手续,华侨实业将不再持有公司股份。这将导致公司控股股东、实控人发生变化,进而对公司股权结构、公司治理、生产经营等产生影响。
据创兴资源此前公告,公司从控股股东华侨实业处获悉并已向公安机关核实,公司实际控制人余增云因涉嫌集资诈骗,已被立案调查。
4月24日上午股票杠杆平台app,《每日经济新闻》记者致电创兴资源及华侨实业,试图采访了解司法拍卖和股权转让情况,但公开电话无人接听。
联合证券提示:文章来自网络,不代表本站观点。




